一种多功能迷你托架
发布时间:2015/1/21 15:41:50 阅读:
次
[发明公布] 一种多功能迷你托架
申请公布号:CN104266045A
申请公布日:2015.01.07
申请号:2014104998178
申请日:2014.09.25
申请人:苏州信达光电科技有限公司
发明人:沈达忠
地址:215000江苏省苏州市高新区玉山路65号
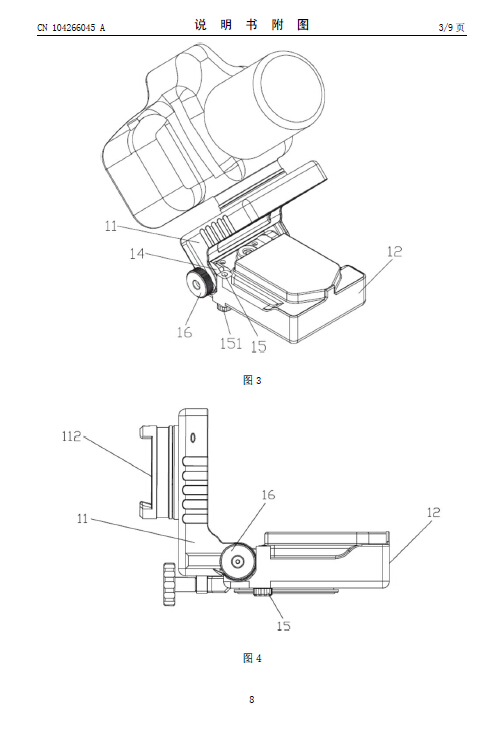
摘要: 本发明公开了一种多功能迷你托架包括用于架设相机或天文望远镜等设备的支臂和与所述支臂相互铰接的底座,所述支臂能够相对于所述底座进行粗调旋转,所述底座上与所述支臂的铰接处设有相互啮合的蜗轮、蜗杆,所述支臂上与所述底座铰接处的设有用于间歇性连接所述支臂和蜗轮的连接件,当所述连接件连接所述支臂和蜗轮时,所述支臂能够在所述蜗轮、蜗杆的带动下相对于所述底座进行微调旋转。本发明具有体积较小、携带方便等优点,其不仅能够作为经纬仪和赤道仪使用而进行天文观测、拍摄,且可以作为专业的相机托架使用而进行一般的专业摄影。














