一种螺纹旋入储油润滑紧定螺钉
发布时间:2015/1/26 15:13:20 阅读:
次
[发明公布] 一种螺纹旋入储油润滑紧定螺钉
申请公布号:CN104266059A
申请公布日:2015.01.07
申请号:2014104672582
申请日:2014.09.15
申请人:贵州航天精工制造有限公司
发明人:赵惠光; 先世兵; 魏君淑; 谭任邦
地址:563000贵州省遵义市凯山256信箱
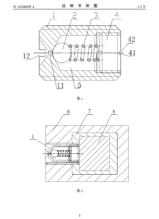
摘要: 一种螺纹旋入储油润滑紧定螺钉,属于紧固连接组件,其紧定螺钉体内部设有一端开口的储油室,储油室封闭的一端为锥形面或球面,其顶点设有连通外部的注油口;所述储油室开口端设有堵塞,堵塞与紧定螺钉体螺纹连接;所述堵塞设有连通外部的渗油口,堵塞的内侧面设有弹力件,弹力件顶端设有密封球。这种螺纹旋入储油润滑紧定螺钉内部设有密封的储油室,有效防止润滑油泄露挥发,使得其具有紧定连接与润滑的双重效果;储油室内部设有弹力件和密封球,采用高压注入润滑油,通过设计储油室的大小可控制润滑周期,能满足不同的工作环境,结构简单、成本低廉,而且安全可靠性高,维护方便。





