一种仿天然石材的布料方法及其用布料系统
发布时间:2015/4/27 15:05:13 阅读:
次
[发明公布] 一种仿天然石材的布料方法及其用布料系统
申请公布号:CN104308969A
申请公布日:2015.01.28
申请号:2014105343741
申请日:2014.10.11
申请人:佛山东承汇科技控股有限公司
发明人:杨晓东; 黄汉强; 杨向忠
地址:528061广东省佛山市禅城经济开发区吉利工业园东源二路1号
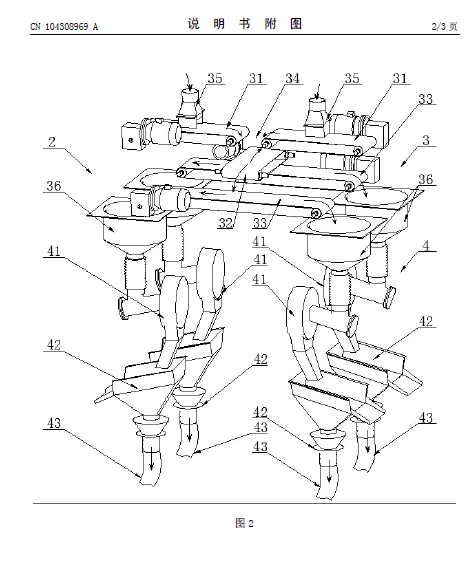
摘要: 一种仿天然石材的布料方法及其用布料系统,选取二种或二种以上的母色料,将其按不同比例混合制得若干种子色料,将若干种子色料按梯度层层叠加后自由抛落,形成由大小块状及粉状的料层,经用基料覆盖后送入压制模腔压制成砖坯,本发明由于采用了上述布料方法,特别是根据上述布料方法设计的布料系统,不仅通过配料装置将母色料按不同比例混合制成若干种子色料,而且通过配料装置与布料装置相互间的对应连接,使混合后的子色料按梯度层层叠加后,自由抛落形成块状及粉状子色料层,经布料系统布出的砖坯表面,可得到梯度更为丰富,纹理过渡更趋自然,层次感强的陶瓷墙地砖体图案。该技术对陶瓷纹理装饰有着明显的提升。









