一种集多种功能于一体的便携式诊疗箱
发布时间:2015/4/13 9:28:20 阅读:
次
[发明公布] 一种集多种功能于一体的便携式诊疗箱
申请公布号:CN104305962A
申请公布日:2015.01.28
申请号:2014105783309
申请日:2014.10.27
申请人:董康然
发明人:董康然
地址:312000浙江省绍兴市越城区人民路225号
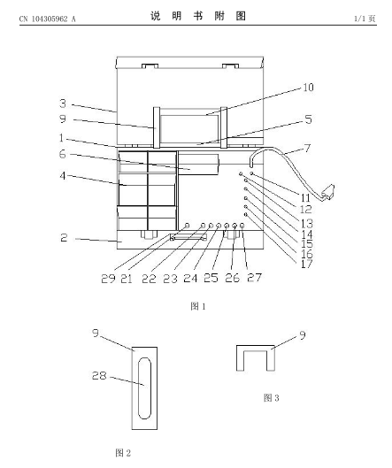
摘要: 本发明公开了一种集多种功能于一体的便携式诊疗箱,包括箱体,所述箱体包括相互活动连接的箱体底盖和箱体上盖;所述箱体底盖上安装有收纳盒、检测接口、开关按钮、备用电池和电源线;所述箱体上盖上安装有平板支架和平板插键,所述平板支架上安装有平板电脑,所述平板电脑还与平板插键相连;所述电源线、备用电池和平板插键通过线路连接;所述检测接口、开关按钮和平板电脑通过线路连接。其结构简单、方便携带,具有防水、防尘、防震、低能耗的特点;且具有多种检测功能。





