高精度栅筛制造工艺及专用压焊机
发布时间:2014/11/12 8:54:26 阅读:
次
[发明授权] 高精度栅筛制造工艺及专用压焊机
授权公告号:CN101259565B
授权公告日:2010.09.01
申请号:2008100943753
申请日:2008.04.29
专利权人:邓亚东
发明人:邓亚东
地址:028000内蒙古自治区通辽市西拉木伦大街东段铁人集团
专利代理机构:北京市商泰律师事务所11255
代理人:邹芳德
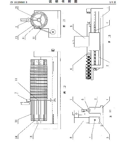
摘要: 本发明涉及一种栅筛制造方法和设备,即一种高精度栅筛的制造工艺和专用压焊机。其方法是先把栅条11缠绕在轴状电极上,上面摆放压条后,另一电极压过压条13,进行焊接。其设备是由机架1支撑两个电极,其中一个是长轴状的轴电极6,另一个是轮状的轮电极7,轴电极6和轮电极7的轴线相垂直,两个电极沿轴电极6的轴线方向相对运动而完成焊接。这种高精度栅筛压焊机,用长轴状电极代替了原有的长笼状电极,由于轴面光滑平整,绕线准确端正,焊接时两电极间压力稳定,焊接质量好,制成的筛面平整度及各项指标显著提高。两电极焊接行程明显缩短,电极损耗、电能消耗和作业成本大幅度降低,从而为栅筛生产水平的提高创造了条件。








